
之前已经实现了通过 IP 加端口号的形式访问我们的个人博客。但是这样记不住也不方便,怎么通过域名访问我们的博客呢,这里我们再来一步步操作一下:
购买域名,其次备案,需要注意备案是有审核时间的到20天左右不等。
这里就不再多介绍了,我们来说之后的流程。
首先明确我们域名的DNS解析服务器,域名本身只是一个 “名字”,它的解析规则(比如指向哪个 IP)是存储在具体的 DNS 服务器上的。你必须先指定 “谁来管这个域名的解析”,后续的记录配置才有效。
因为我是腾讯云购买的域名,在阿里云买的服务器,所以在域名管理界面,把阿里云的 dns 服务器地址填进去即可(这意味着接下来要在阿里云配置具体的解析规则)。



DNS解析生效可能需要一段时间,可以登录https://dnschecker.org ,输入你的域名,检查一下返回的 IP 是不是自己的服务器 IP。
接着,我们要在服务器的管理平台上配置具体的解析规则 —— 即 “记录类型” 和 “记录值”。
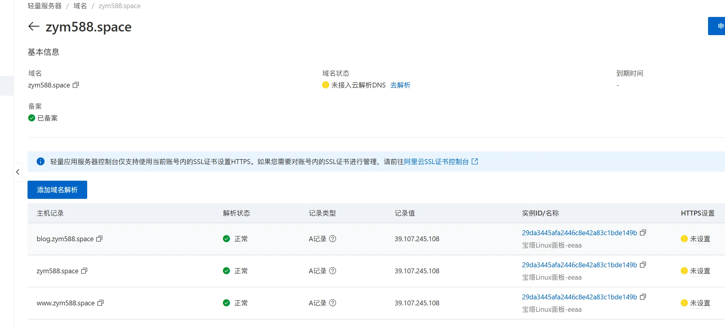
在阿里云服务器的域名管理添加域名解析。二级域名根据自己的需求添加,记录值就是自己的公网服务器 IP,记录类型选A类型。
提示
记录类型:决定了域名要实现什么功能(比如访问网站、收邮件、跳转等)。
常见类型:
A记录:最常用,将域名指向 IPv4 地址(如123.123.123.123),用于网站访问。 AAAA记录:类似 A 记录,指向 IPv6 地址。
CNAME记录:将域名指向另一个域名(如www.abc.com指向abc.com),常用于 CDN 或子域名关联主域名。
MX记录:指定域名的邮件服务器地址,用于接收邮件(如@abc.com的邮件由哪台服务器处理)。
TXT记录:用于验证域名归属(如 SSL 证书验证)、防垃圾邮件(SPF 记录)等。
记录值:对应记录类型的具体目标。比如 A 记录的记录值是 IP 地址,CNAME 的记录值是目标域名。

提示
二级域名是指主域名下的 “子域名”(格式:前缀.主域名,比如www.abc.com、blog.abc.com、mail.abc.com),不仅可以添加,而且是日常使用中最灵活的方式。
如何添加二级域名的解析记录? 在 DNS 解析平台配置时,通过 “主机记录” 字段指定二级域名的前缀: 主机记录填www → 对应二级域名www.abc.com; 主机记录填blog → 对应blog.abc.com; 主机记录填*(通配符) → 对应所有未单独配置的二级域名(比如test.abc.com、a.abc.com等,都会指向同一个记录值,适合批量管理)。 然后选择对应的记录类型(如 A、CNAME 等),填写记录值即可。
二级域名的常见用途 区分不同服务:www.abc.com(网站)、mail.abc.com(邮箱)、admin.abc.com(管理后台); 多业务隔离:shop.abc.com(电商)、edu.abc.com(教育板块); 测试环境:test.abc.com(内部测试用,不对外公开)。
现在尝试着通过域名加端口号的方式访问自己的博客或者服务,如果成功,就说明到这里没问题啦!
反向代理是一种服务器配置,客户端请求首先发送到反向代理服务器,然后由反向代理服务器转发到后端的应用服务器。
在宝塔面板的 docker 商店搜索nginx proxy manager并安装,安装之后记得修改一下容器编排,里面网络改为 host 网络,不然会导致容器间网络隔离不互通。

jsnetwork_mode: host
接着访问默认的81端口进入到 npm 的管理后台,添加我们的域名设置反向代理,参考我这里即可。
默认用户名密码Email: admin@example.com Password: changeme

再申请一个 ssl 证书,即可大功告成,直接通过域名访问到我们的博客或者服务!

本文作者:小转圈
本文链接:
版权声明:本博客所有文章除特别声明外,均采用 BY-NC-SA 许可协议。转载请注明出处!